家在深圳,真实业主生活圈_房网论坛

0

|

16

汇城茗院124套备案来了,约8.9万

西西美丽
西西美丽

积分:-

注册时间:-

主楼
2023-08-31 15:36:00
标签: 点击标签查看相关内容

汇城茗院124套备案来了,约8.9万

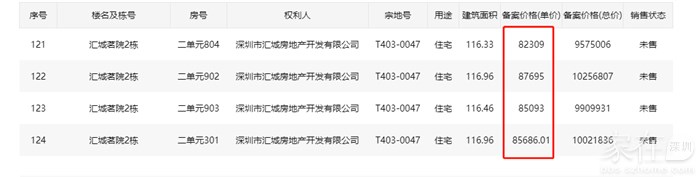
汇城茗院124套,户型116平,均价约8.9万,区间单价约7.8-10.8万,区间总价约912-1203万,毛坯现楼交房






分享
0
西西美丽
西西美丽

积分:-

注册时间:-

沙发
2023-08-31 15:40:20
价格表,8万多点也不少










西西美丽
西西美丽

积分:-

注册时间:-

板凳
2023-08-31 15:40:39
全部价格表










nldxfsh
nldxfsh

积分:-

注册时间:-

地板
2023-08-31 15:41:52
看价格还不错,是不是要冲呀
千里匆匆
千里匆匆

积分:-

注册时间:-

4楼
2023-08-31 15:52:37
这价格,为什么不冲前海~~~
千里匆匆
千里匆匆

积分:-

注册时间:-

5楼
2023-08-31 16:32:29
都10W的价格了 ,你要买这个地方??

去人家别墅门口被围观?
引用3楼nldxfsh的发言:
看价格还不错,是不是要冲呀
Ran2469
Ran2469

积分:-

注册时间:-

6楼
2023-08-31 18:22:22 来自iPhone客户端
预估开盘能卖30套左右
准备投资第二套
准备投资第二套

积分:-

注册时间:-

7楼
2023-08-31 19:15:54
8折再说

千里匆匆
千里匆匆

积分:-

注册时间:-

8楼
2023-08-31 20:32:14
预计去化不到7成,4~5成左右
牛角监装修监理
牛角监装修监理

积分:-

注册时间:-

9楼
2023-09-01 15:06:08
用户被禁言
cxfkiller
cxfkiller

积分:-

注册时间:-

10楼
2023-09-01 15:23:07
       这个楼盘配套学位比较差,但是位置周边安静适合养老,现在开盘的位置靠近十字路口,朝向也没之前开盘的好,私密性也差点,但是得房率高一些,如果现在开盘价和之前开盘价一样还好,现在涨价了就不好说了,现在是现房可能开发商觉得更加有吸引力吧,确实按照现在的行情,这价位有其他很多可选。                                      
      重要的是这个楼盘,宣传的湖景不是永久的,水库前面还有一片旧住宅,以后要是旧改就会全部遮挡掉。
千里匆匆
千里匆匆

积分:-

注册时间:-

11楼
2023-09-01 18:48:56
8W 的价格 应该卖的好~~~

这10W的价格,哈哈哈哈啊哈,送给他吧

引用10楼cxfkiller的发言:
       这个楼盘配套学位比较差,但是位置周边安静适合养老,现在开盘的位置靠近十字路口,朝向也没之前开盘的好,私密性也差点,但是得房率高一些,如果现在开盘价和之前开盘价一样还好,现在涨价了就不好说了,现在是现房可能开发商觉得更加有吸引力吧,确实按照现在的行情,这价位有其他很多可选。                                      
      重要的是这个楼盘,宣传的湖景不是永久的,水库前面还有一片旧住宅,以后要是旧改就会全部遮挡掉。
西西美丽
西西美丽

积分:-

注册时间:-

12楼
2023-09-06 14:30:19

60批冻资


会飞的鱼8899
会飞的鱼8899

积分:-

注册时间:-

13楼
2023-09-13 14:50:02 来自iPhone客户端
听说开盘只卖了十几套是真的吗?
引用12楼楼主的发言:

60批冻资

只缘身在此山中
只缘身在此山中

积分:-

注册时间:-

14楼
2023-09-13 16:00:50 来自iPhone客户端
一般
许大小姐叫冰心
许大小姐叫冰心

积分:-

注册时间:-

15楼
2024-01-23 14:13:43
我想知道当初有没有冲上了

深圳买房18
深圳买房18

积分:-

注册时间:-

16楼
2024-02-13 18:10:35 来自Android手机客户端
卖完了吗?
  • 插入图片

    支持一次选择9张图片上传(使用Ctrl、Shift选中);

    支持jpg、png、gif,单张图片不超过10M,png不超过1M,gif不超过300K。

    • 继续添加

  • 提到好友

3(16px)

楼主最近发表

相关帖子

    大家都在看

    下载家在深圳APP

    关注家在公众号