家在深圳,真实业主生活圈_房网论坛

0

|

7

颐安五区现楼加推52套,备案约5.2万

龙岗飞看
龙岗飞看

积分:-

注册时间:-

主楼
2024-07-24 11:31:47
标签: 点击标签查看相关内容

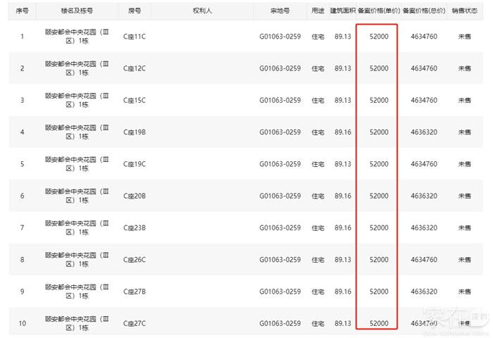
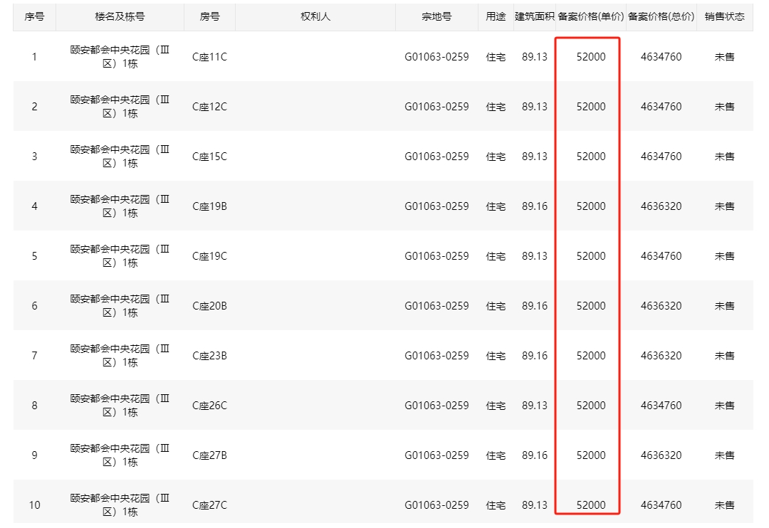
颐安五区现楼加推52套,备案约5.2万

目前看到现楼推出52套,均价约5.2万,户型86-144平,单价约5.16-5.58万,总价约447-828万






分享
0
龙岗飞看
龙岗飞看

积分:-

注册时间:-

沙发
2024-07-24 11:32:07
价格






yyhzte
yyhzte

积分:-

注册时间:-

板凳
2024-07-24 16:48:38 来自Android手机客户端
现在5.2万难度比较大。
思考中001
思考中001

积分:-

注册时间:-

地板
2024-07-24 16:52:05
当年5.2万,+0.5K 的装修费,

去看了下, 还只把朝向不好的户型拿出来,骗人说, 好的抢光了。
Leoyang27
Leoyang27

积分:-

注册时间:-

4楼
2024-07-24 16:57:55 来自Android手机客户端
颐安这期在挂条幅

2KPaul
2KPaul

积分:-

注册时间:-

5楼
2024-07-24 17:30:03 来自Android手机客户端
二手4万多,会有大怨种5万多买吗
沼泽4596825_微信
沼泽4596825_微信

积分:-

注册时间:-

6楼
2024-07-25 05:54:05 来自Android手机客户端
4万多的都是各种朝向不好的,好的户型怎么可能这个价
引用2KPaul的发言:
二手4万多,会有大怨种5万多买吗
lucky001huang
lucky001huang

积分:-

注册时间:-

7楼
2024-07-25 11:00:15

  • 插入图片

    支持一次选择9张图片上传(使用Ctrl、Shift选中);

    支持jpg、png、gif,单张图片不超过10M,png不超过1M,gif不超过300K。

    • 继续添加

  • 提到好友

3(16px)

楼主最近发表

相关帖子

    大家都在看

    下载家在深圳APP

    关注家在公众号