家在深圳,真实业主生活圈_房网论坛

0

|

3

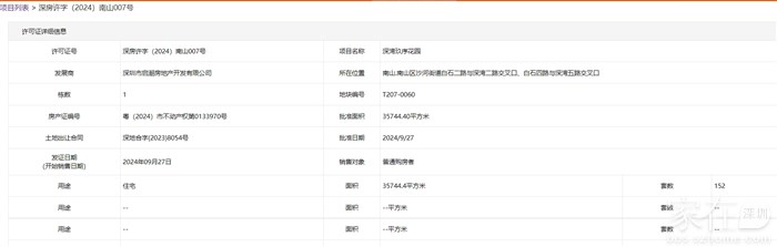
中海深湾玖序备案12.96万,卖了56套

西西美丽
西西美丽

积分:-

注册时间:-

主楼
2024-09-29 09:34:38 来自Android手机客户端
标签: 点击标签查看相关内容

中海深湾玖序备案12.96万,卖了56套

备案后就直接推了,都卖了56套,约18.2亿,去化约36.8%

备案均价12.96万,推出152套,户型196~431平,单价约10~19.9万,总价约2041-8616万

分享
0
西西美丽
西西美丽

积分:-

注册时间:-

沙发
2024-09-29 09:34:53 来自Android手机客户端
备案



西西美丽
西西美丽

积分:-

注册时间:-

板凳
2024-09-29 09:37:22 来自Android手机客户端
看到合同已经签了54套,看来数据差不了多少
15920011808
15920011808

积分:-

注册时间:-

地板
2024-09-29 10:20:37 来自Android手机客户端
60%
  • 插入图片

    支持一次选择9张图片上传(使用Ctrl、Shift选中);

    支持jpg、png、gif,单张图片不超过10M,png不超过1M,gif不超过300K。

    • 继续添加

  • 提到好友

3(16px)

楼主最近发表

相关帖子

    大家都在看

    下载家在深圳APP

    关注家在公众号