家在深圳,真实业主生活圈_房网论坛

0

|

2

联投东方加推82套,21号选房

乡西之梦
乡西之梦

积分:-

注册时间:-

主楼
2024-07-19 12:01:44
标签: 点击标签查看相关内容

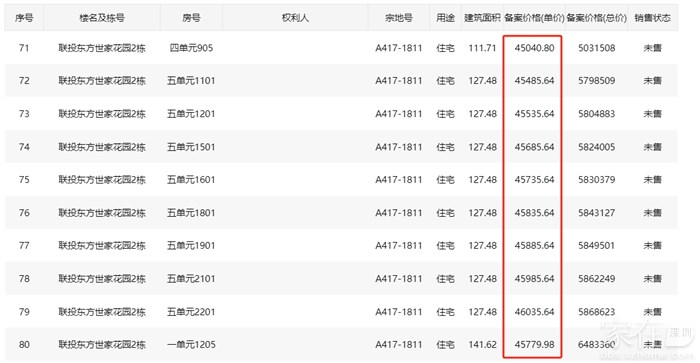
联投东方加推82套,21号选房

看到加推82套现房销售,户型79-151平,价格约4.5万,单价约4.4-4.7万,总价约371-651万

登记月19日-7月20日,7月20日将意向登记人名册公示及公证摇号;7月21日9:00,线上公证选房。








分享
0
软件开发东子
软件开发东子

积分:-

注册时间:-

沙发
2024-07-19 12:10:07
用户被禁言
广东Lawrence8
广东Lawrence8

积分:-

注册时间:-

板凳
2024-07-20 19:14:57 来自m.szhome.com
三万。

不能再多了。
  • 插入图片

    支持一次选择9张图片上传(使用Ctrl、Shift选中);

    支持jpg、png、gif,单张图片不超过10M,png不超过1M,gif不超过300K。

    • 继续添加

  • 提到好友

3(16px)

楼主最近发表

相关帖子

    大家都在看

    下载家在深圳APP

    关注家在公众号