家在深圳,真实业主生活圈_房网论坛

0

|

2

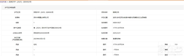
鹏宸云筑加推6.12万

你福不福
你福不福

积分:-

注册时间:-

主楼
2025-03-24 15:18:01
标签: 点击标签查看相关内容

鹏宸云筑加推6.12万

这次有153套,看这批均价6.12万,户型104-148平,单价约5.46-6.57万,总价约570-974万


分享
0
你福不福
你福不福

积分:-

注册时间:-

沙发
2025-03-24 15:21:02



zsp0616
zsp0616

积分:-

注册时间:-

板凳
2025-03-28 10:57:07
太贵了
  • 插入图片

    支持一次选择9张图片上传(使用Ctrl、Shift选中);

    支持jpg、png、gif,单张图片不超过10M,png不超过1M,gif不超过300K。

    • 继续添加

  • 提到好友

3(16px)

楼主最近发表

相关帖子

    大家都在看

    下载家在深圳APP

    关注家在公众号