标签:
点击标签查看相关内容
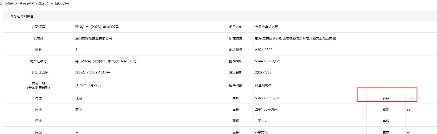
4.98万的会展湾雍境名邸
备案了4.98万,单价4.13-5.62万,总价约333-653万,户型78-117平,有588套




粤公网安备 44030402000760号
